Originalzubehör und Ersatzteile von Qooder

Originalzubehör und Ersatzteile von Qooder

Parts finder

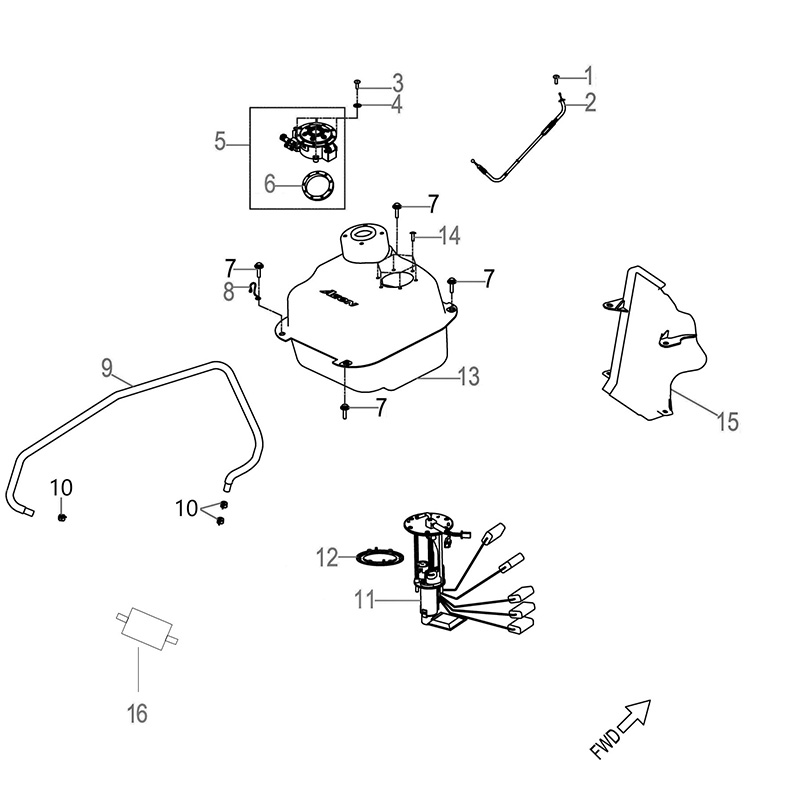
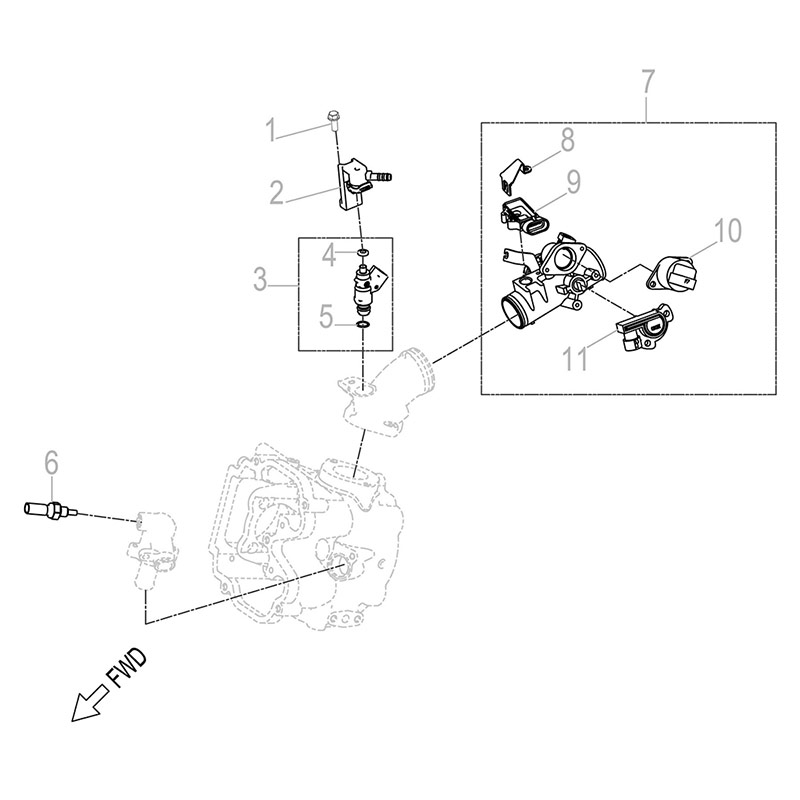
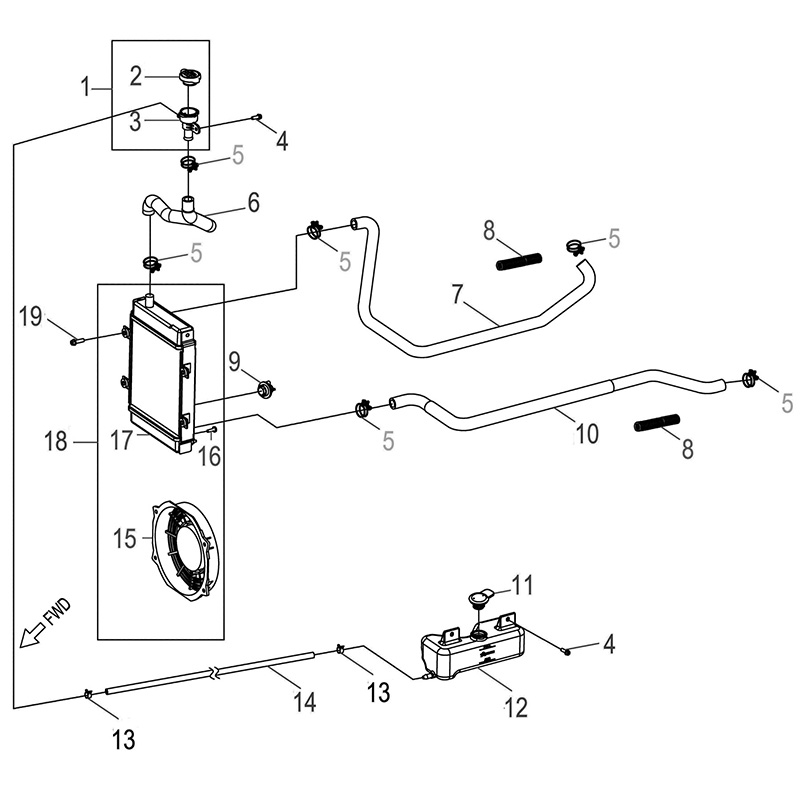
QUADRO 350S TAC63110