Originalzubehör und Ersatzteile von Qooder

Originalzubehör und Ersatzteile von Qooder

Parts finder

QUADRO 350S TAC63110 > Drive clutch
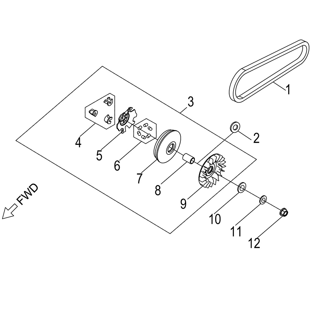
Drive clutch
Item Description P/N Q.ty(1) Note
1 Belt, Driven QS10069N001 1
2 Washer QS1011733015000 1 φ17.2*φ33*t1.5
3 Asm., Sliding QS2210369N2 1
4 Bushing, Slider QS13369N000 1
5 Plate, Sheave QS13169N000 1
6 Roller QS12069N001 1
7 Wheel, Slot, Sliding, Primary QS11062E002 1
8 Bushing, Sheave QS106203000 1
9 Sheave, moveable QS10269N001 1
10 Washer QS94108142802000K 1
11 Washer QS1211426016000 1 φ14*φ26*t1.6
12 Nut QS0501402100C 1

Q.TY(1) = Mindestmenge erforderlich