Originalzubehör und Ersatzteile von Qooder

Originalzubehör und Ersatzteile von Qooder

Parts finder

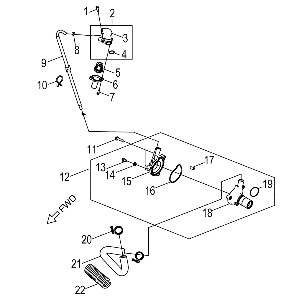
Qv3 TAC63306 > Water pump
Water pump
Item Description P/N Q.ty(1) Note
1 Bolt QS00006018808C 1 M6*P1.0*18L
2 Sensor, Thermosatic QS31069N000 1
3 Housing, Thermosatic QS31169N000 1
4 O-Ring QS21201719 1
5 Bimetal, Thermosatic QS30062U001 1
6 Flange, Thermosatic QS31550N000 1
7 Bolt QS00005016800C 2 M5*P0.8*16L
8 Clamp QS9451507A06 2
9 Hose, Bypass, Thermosatic QS50550T000 1
10 Cable QS755204000 1
11 Bolt QS00006040808C 3 M6*P1.0*40L
12 Asm., Water Pump QS1921062U0 1
13 Bolt QS00006012808C 1 M6*P1.0*12L
14 Washer QS101061201000U 1 φ6.5*φ12*t1
15 Flange, Water Pump QS22162U000 1
16 Gasket QS22950A000 1
17 Pin, Dowel QS30108140 2 8*14
18 Body, Water Pump QS21150A000 1
19 O-Ring QS21002920 1 29*2.0
20 Clamp QS22250A000 2
21 Hose QS1950262U0 1
22 Spring, Coolant Hose QS50762U000 1

Q.TY(1) = Mindestmenge erforderlich