Originalzubehör und Ersatzteile von Qooder

Originalzubehör und Ersatzteile von Qooder

Parts finder

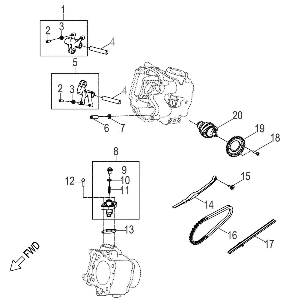
Qv3 TAC63306 > Valve cam
Valve cam
Item Description P/N Q.ty(1) Note
1 Arm Comp,Valve Rocker Intake QS43069F000 1
2 Nut,Tappet Adjusting QS433140000 4
3 Screw,Tappet Adjusting QS432140000 4
4 Shaft,Valve Rocker Arm QS45169S000 2
5 Arm Comp,Valve Rocker Exhaust QS44069F000 1
6 Nut, Head QS21869S001 4
7 Washer QS108081603000B 4
8 Tensioner QS52150N000 1
9 Adjust Plug QS55250N000 1
10 O-Ring QS21000919 1 9*1.9
11 Tensioner Lifter Spring QS55350N000 1
12 Bolt QS00006022814C 2 M6*P1.0*22L
13 Gasket, Tensioner QS1452311900A 1
14 Guide, Cam Chain, RH QS55050A000 1
15 Pivot, Guide QS53550A000 1
16 Chain, Cam QS40169S000 1
17 Guide, Cam Chain, LH QS50050N000 1
18 Bolt QS0000601280CL 2
19 Sprocket, Camshaft QS10869S000 1
20 Asm., Cam Shaft QS1440069N0 1

Q.TY(1) = Mindestmenge erforderlich