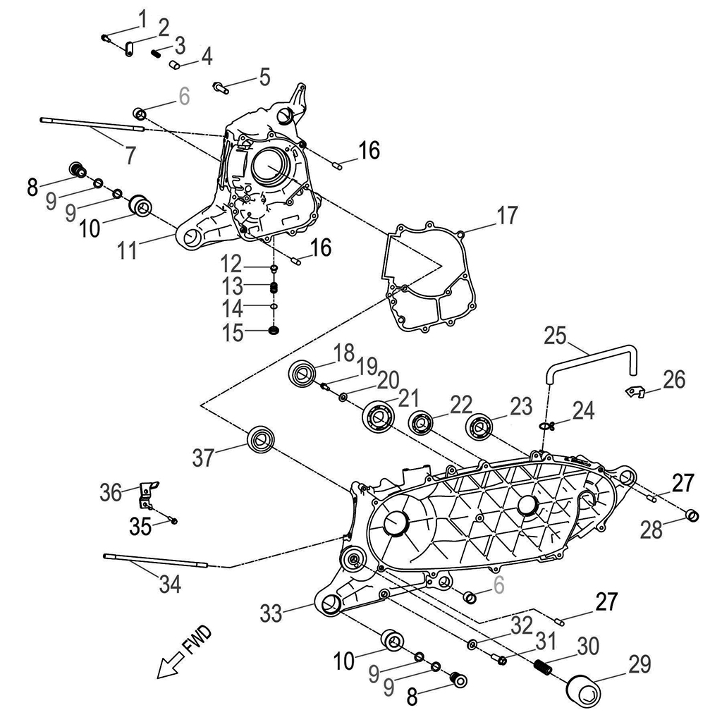
| Item | Description | P/N | Q.ty(1) | Note |
|---|---|---|---|---|
| 1 | Bolt | QS00006016808C | 1 | M6*P1.0*16L |
| 2 | Barrier, Crankshaft | QS00469N000 | 1 | |
| 3 | Spring, Barrier | QS10869N000 | 1 | |
| 4 | Pin, Barrier | QS00369N000 | 1 | |
| 5 | Bolt | QS00006050808C | 3 | M6*P1.0*50L |
| 6 | Bush, Kickstand | QS10962U001 | 2 | |
| 7 | Stud | QS00108181800B | 2 | |
| 8 | Collar, Shaft, Swing | QS1123062U0 | 2 | |
| 9 | O-Ring | QS21001525 | 4 | 15*2.5 |
| 10 | Bush, Rubber | QS20962U000 | 2 | |
| 11 | Crankcase, Rh | QS10162U002 | 1 | |
| 12 | Screen | QS421119000 | 1 | |
| 13 | Spring, Screen | QS426119000 | 1 | |
| 14 | O-Ring | QS21203132 | 1 | |
| 15 | Plug, Drain, Oil | QS334119000 | 1 | |
| 16 | Pin, Dowel | QS30110140 | 2 | φ10*14L |
| 17 | Gasket | QS19162U000 | 1 | |
| 18 | Seal, Oil | QS504253807FKM | 1 | |
| 19 | Bolt | QS00006012808C | 1 | M6*P1.0*12L |
| 20 | Washer | QS1080618020000 | 1 | |
| 21 | Bearing, Ball | QS1006305000000 | 1 | |
| 22 | Bearing, Ball | QS1006204000000 | 1 | |
| 23 | Bearing, Ball | QS1006304000000 | 1 | |
| 24 | Clip | QS51012012 | 1 | 12*1.2 |
| 25 | Fuel Hose, Discharge | QS1753250N000 | 1 | |
| 26 | Bracket, Carburator Tube | QS35150N001 | 1 | |
| 27 | Pin, Dowel | QS30108140 | 2 | 8*14 |
| 28 | Bushing | QS400102828 | 1 | |
| 29 | Filter, Oil | QS1550039A0 | 1 | |
| 30 | Bolt, Oil Filter | QS10539A000 | 1 | |
| 31 | Bolt | QS00312015817C | 1 | M12*P1.25*15L |
| 32 | Washer | QS101122132000L | 1 | φ12.1*φ21.3*t2 |
| 33 | Crankcase, Lh | QS20162U000 | 1 | |
| 34 | Stud | QS00108188800B | 2 | |
| 35 | Bolt | QS00006012808C | 2 | M6*P1.0*12L |
| 36 | Ground Cable, Battery | QS755207000 | 1 | |
| 37 | Bracket, Brake Switch | QS465203000 | 1 | |
| 38 | Fix Plate | QS50211261000 | 1 | |
| 39 | Seal, Oil | QS504304807FKM | 1 |
Q.TY(1) = Mindestmenge erforderlich