Originalzubehör und Ersatzteile von Qooder

Originalzubehör und Ersatzteile von Qooder

Parts finder

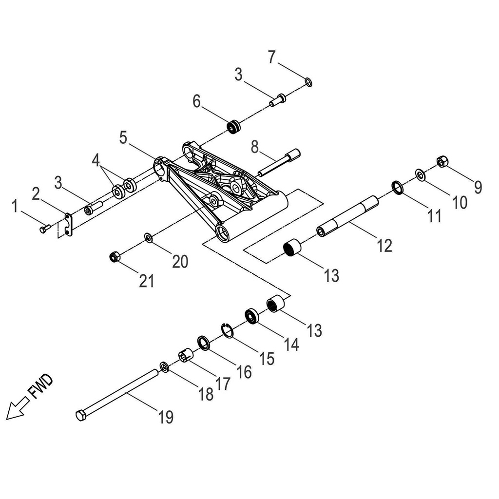
Qv3 TAC63306 > A-arm
A-arm
Item Description P/N Q.ty(1) Note
1 Bolt QS00005016800K 4 M5*P0.8*16L
2 Stopper, Bearing, Front A Arm QS093S38000 2
3 Bolt QS00010030800K 4 M10*P1.25*30L
4 Bearing, Ball QS10060000LLU00 4
5 Front A Arm QS137S38001 2
6 Bearing QS213RNA4900 2
7 O-Ring QS21001326 2 φ13.3x2.6
8 Bolt QS092S38000 2
9 Nut QS3501200000K 2 M12*P1.25
10 Washer QS101122402500K 2
11 Seal, Oil QS500202604NBR 2
12 Tube, Spacer QS810238000 2
13 Bearing, Needle QS200202620 4
14 Bearing, Ball QS10060010LLU00 2 6001LLU
15 Clip, Cir QS5122800R 2
16 Seal, Oil QS500202804NBR 2
17 Spacer QS094201000 2
18 Washer QS095201000 2 12.1*20*5mm
19 Bolt QS00012195814K 2 M12*P1.25*195L
20 Washer QS101102202000K 2 φ10.1*φ22*t2
21 Nut QS3501000000C 2 M10*P1.25

Q.TY(1) = Mindestmenge erforderlich