Originalzubehör und Ersatzteile von Qooder

Originalzubehör und Ersatzteile von Qooder

Parts finder

QUADRO 350D TAC3D313 > Water pump
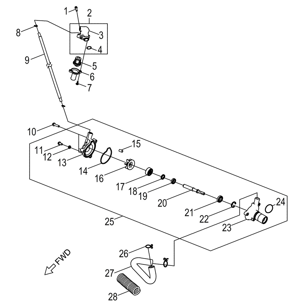
Water pump
Item Description P/N Q.ty(1) Note
1 Bolt QS00006018808C 1 M6*P1.0*18L
2 Sensor, Thermosatic QS31062U000 1
3 Housing, Thermosatic QS1931162U0 1
4 O-Ring QS21201719 1
5 Bimetal, Thermosatic QS30062U001 1
6 Flange, Thermosatic QS31550A000 1
7 Bolt QS50005016800C 2 M5*P0.8*16L
8 Clamp QS9451507A06 2
9 Hose, Bypass, Thermosatic QS50562U000 1
10 Bolt QS00006040808C 3 M6*P1.0*40L
11 Bolt QS00006012808C 1 M6*P1.0*12L
12 Washer QS101061201000U 1 φ6.5*φ12*t1
13 Flange, Water Pump QS22162U000 1
14 Gasket QS22950A000 1
15 Pin, Dowel QS30108140 2 8*14
16 Impeller, Water Pump QS21550A000 1
17 Seal, Mechanical QS21750A000 1
18 Seal, Oil QS500122207 1
19 Bearing, Ball QS10069010 1
20 Shaft, Water Pump QS23150A000 1
21 Bearing, Ball QS10060000 1
22 Clip, Cir QS5122600R 1
23 Body, Water Pump QS21150A000 1
24 O-Ring QS21002920 1 29*2.0
25 Asm., Water Pump QS1921062U0 1
26 Clamp QS22250A000 2
27 Hose QS1950262U0 1
28 Spring, Coolant Hose QS50762U000 1

Q.TY(1) = Mindestmenge erforderlich