Originalzubehör und Ersatzteile von Qooder

Originalzubehör und Ersatzteile von Qooder

Parts finder

QUADRO 350D TAC3D313 > Valve cam
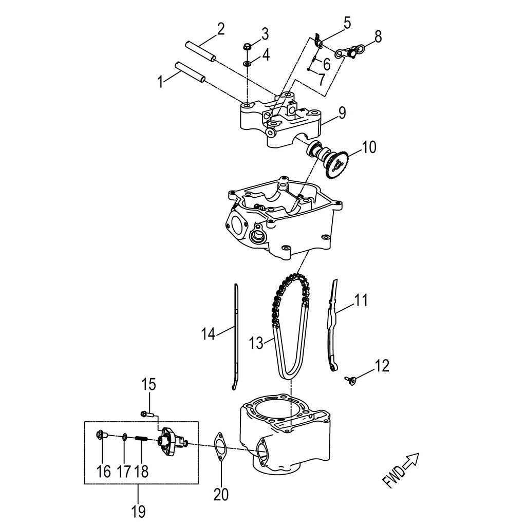
Valve cam
Item Description P/N Q.ty(1) Note
1 Shaft, Intake, Rocker Arm QS45250A000 1
2 Shaft, Exhaust, Rocker Arm QS45362E000 1
3 Nut QS0500800000C 4 M8*P1.25
4 Washer QS101081802300U 4 φ8*φ18*t2.3
5 Arm, Valve, Rocker QS1443162E001 2
6 Screw, Tappet Adj. QS01206015 2
7 Nut, Tappet Adj. QS2060500000A 2
8 Asm., Decomp. Release QS45662E000 1
9 Bracket, Cam Shaft QS21162E000 1
10 Asm., Cam Shaft QS40062E000 1
11 Guide, Cam Chain, RH QS55050A000 1
12 Pivot, Guide QS53550A000 1
13 Chain, Cam QS40155S000 1
14 Guide, Cam Chain, LH QS50055L000 1
15 Bolt QS00006022814C 2 M6*P1.0*22L
16 Adjust Plug QS55250N000 1
17 O-Ring QS21000919 1 9*1.9
18 Tensioner Lifter Spring QS55350N000 1
19 Tensioner QS52150N000 1
20 Gasket, Tensioner QS1452311900A 1

Q.TY(1) = Mindestmenge erforderlich