Originalzubehör und Ersatzteile von Qooder

Originalzubehör und Ersatzteile von Qooder

Parts finder

QUADRO 350D TAC3D313 > Electric fuel injection
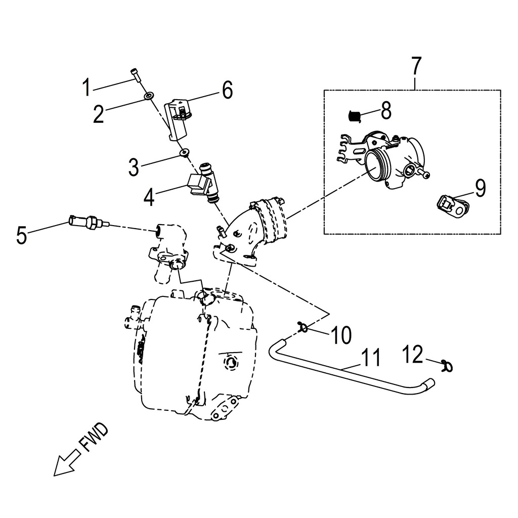
Electric fuel injection
Item Description P/N Q.ty(1) Note
1 Bolt QS00006020800K 1
2 Washer QS101061301000C 1 φ6.1*φ13*t1
3 Washer QS150071705000K 1 φ7.1*φ17*t5
4 Fuel Injector QS1621035C000 1
5 Sensor, Engine Coolant, ECT QS1935025I000 1
6 Adaptor, Fuel Injector QS21622R000 1
7 Asm., Throttle Body QS20062U000 1
8 Recoil, Throttle QS1620662U000 1
9 Sensor, TPS QS91662U000 1
10 Clamp QS51008000 1
11 Hose, IAC QS24262U000 1
12 Clip QS51010015 1

Q.TY(1) = Mindestmenge erforderlich