Originalzubehör und Ersatzteile von Qooder

Originalzubehör und Ersatzteile von Qooder

Parts finder

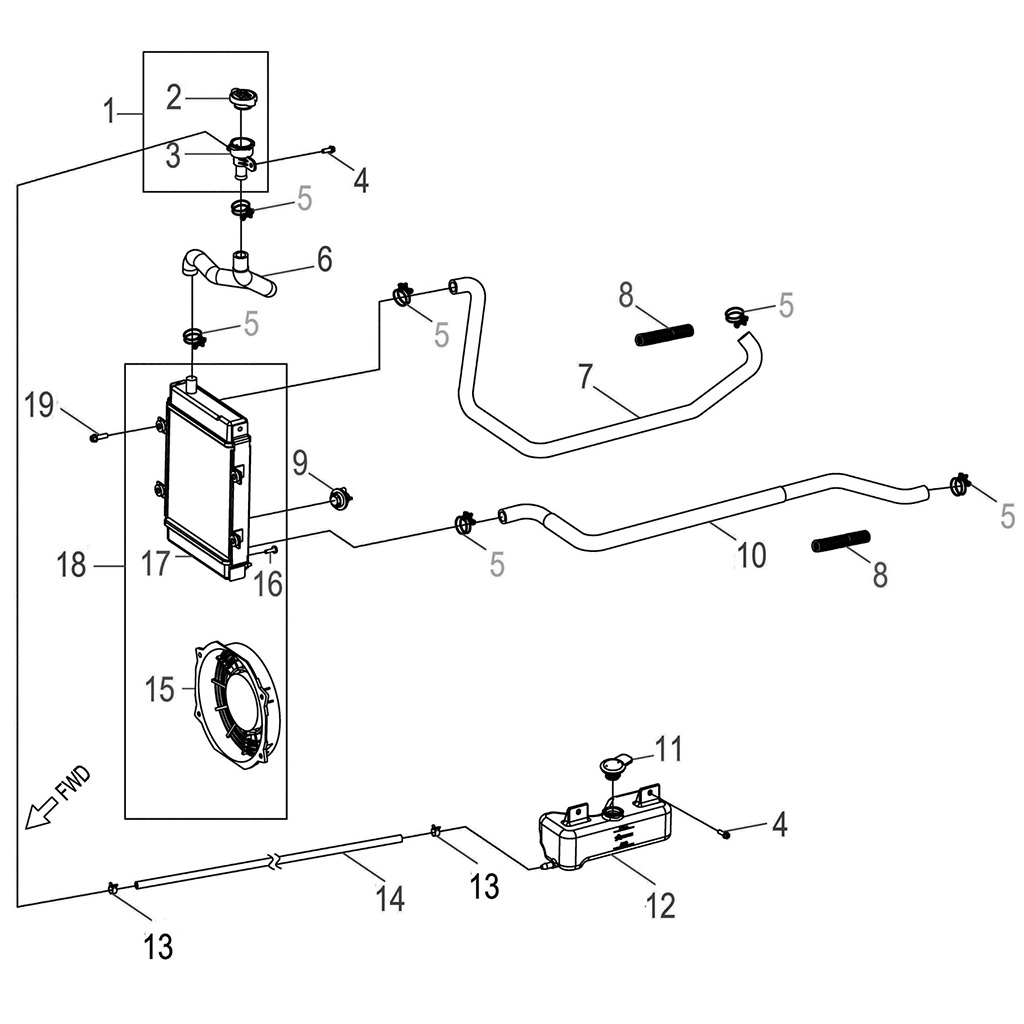
Quadro 3 TAC63110 > Radiator
Radiator
Item Description P/N Q.ty(1) Note
1 Asm., Water Cap QS1911362U0 1
2 Cap, Water QS11150A000 1
3 Tube, Water Cap QS11462U000 1
4 Bolt QS00506016800K 3 M6*P1.0*16L W/Washer
5 Clamp QS22250A000 6
6 Hose, Water Cap, Radiator QS19504S380 1
7 Hose, Outlet, Radiator QS50150T000 1
8 Spring, Coolant Hose QS50762U000 2
9 Asm., Switch, Thermosatic QS32051T000 1
10 Hose, Inlet, Radiator QS50362U000 1
11 Cap, Expansion Tank QS105111000 1
12 Tank, Expansion QS10162U000 1
13 Clamp QS51512008 2 12*8
14 Hose, Inlet, Expansion Tank QS1950662U0 1
15 Asm., Fan QS00562E001 1
16 Screw QS00306016800K 3 M6*P1.0*16L W/Washer
17 Radiator QS01151T000 1
18 Asm., Radiator QS01051T001 1
19 Bolt QS00706022800K 4 M6*P1.0*22L W/Washer

Q.TY(1) = Mindestmenge erforderlich