Originalzubehör und Ersatzteile von Qooder

Originalzubehör und Ersatzteile von Qooder

Parts finder

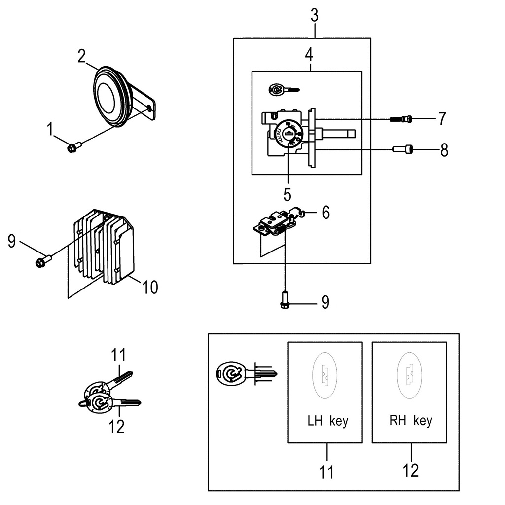
Quadro 3 TAC63110 > Main switch/ horn/ reg.
Main switch/ horn/ reg.
Item Description P/N Q.ty(1) Note
1 Bolt QS0000801280KL 1 M8*P1.25*12L
2 Horn QS110119000 1
3 Asm., Mian Switch QS35010S38002 1
4 Switch, Main QS35102S38002 1
5 Cap, Lock, hood QS35112205000 1
6 Lock striker QS23162U000 1
7 Shear-Bolt QS2000602080B1 1
8 Bolt QS00006016800K 1
9 Bolt QS00006016810K 4 M6*P1.0*16L
10 Rectifier/ Regulator QS3160069T 1
11 Key(LH) QS35012213002 1
12 Key(RH) QS35011213002 1

Q.TY(1) = Mindestmenge erforderlich