Originalzubehör und Ersatzteile von Qooder

Originalzubehör und Ersatzteile von Qooder

Parts finder

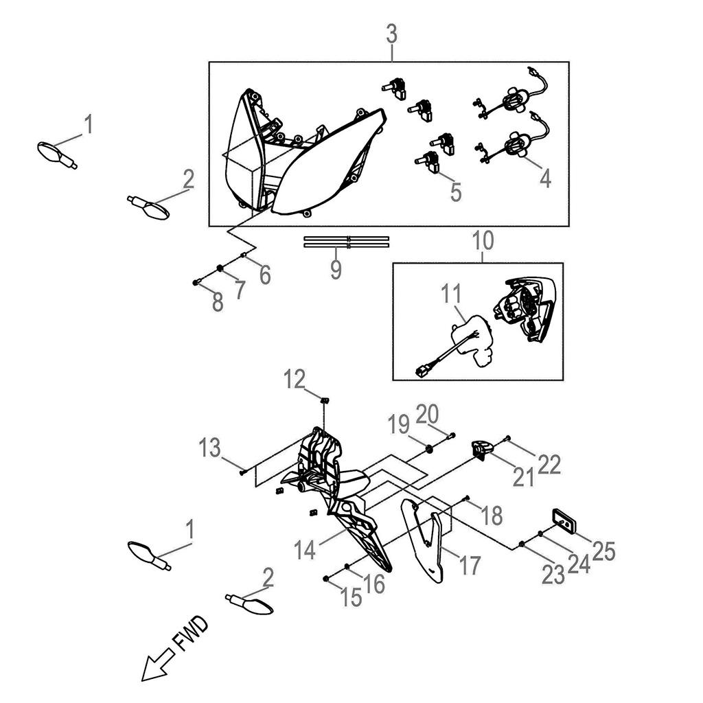
Quadro 3 TAC63110 > Lights
Lights
Item Description P/N Q.ty(1) Note
1 Asm., Signal, Front/Rear RH QS400219000 2
2 Asm., Signal, Front/Rear, LH QS450219000 2
3 Asm., Headlight QS100237000 1
4 Led Light Comp QS202202001 2
5 Bulb, Headlight QS901222000 4
6 Tube, Spacer QS810215000 3
7 Grommet QS129204000 3
8 Bolt QS00706020800K 3
9 Foam QS19626S380 2
10 Asm,. Taillight QS70062U001 1
11 Led Light Comp QS202203002 1
12 Nut-U QS12120300B 3
13 Screw QS903105012800K 4 M5*12L
14 License Plate QS70862U001 1
15 Nut QS3500500000K 3 M5*P0.8
16 Washer QS101051401000K 3 φ5.1*φ14*t1
17 Guard, Mud QS11362U000 1
18 Bolt QS10005016800K 3 M5*P0.8*16L
19 Washer QS150071705000K 2 φ7.1*φ17*t5
20 Bolt QS00706016800K 2 M6*P1.0*16L W/Washer
21 Asm., License Light QS750202000 1
22 Bolt QS10005016800K 1 M5*P0.8*16L
23 Nut QS0500500000C 1 M5*P0.8
24 Washer QS101051401000K 1 φ5.1*φ14*t1
25 Reflector QS741201000 1

Q.TY(1) = Mindestmenge erforderlich