Originalzubehör und Ersatzteile von Qooder

Originalzubehör und Ersatzteile von Qooder

Parts finder

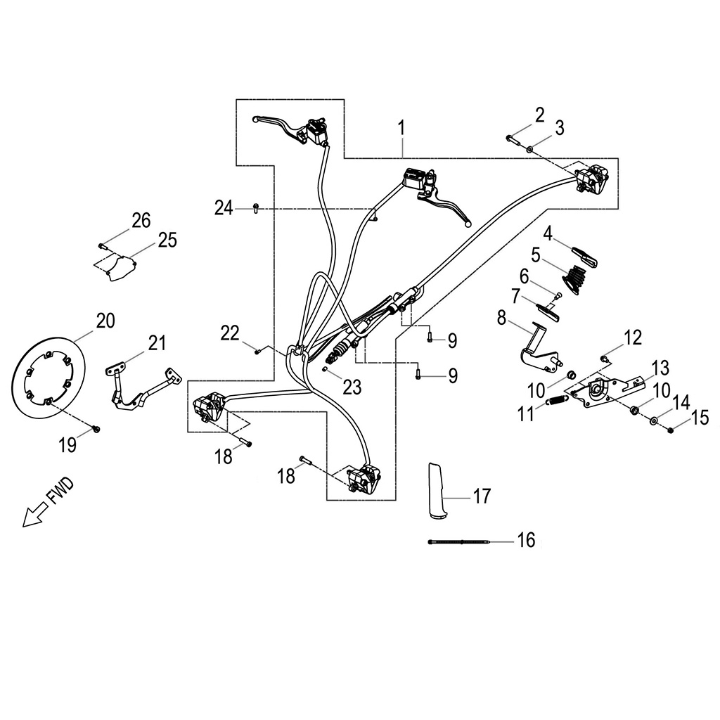
Quadro 3 TAC63110 > Brake system

Zur Bestellung geben Sie bitte hier den Produktcode aus der Spalte P/N ein

Brake system
Brake system