Originalzubehör und Ersatzteile von Qooder

Originalzubehör und Ersatzteile von Qooder

Parts finder

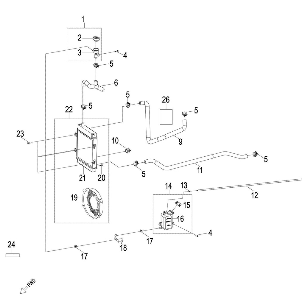
Qooder TAC63410 > Radiator
Radiator
Item Description P/N Q.ty(1) Note
1 Asm., Water Cap QS1911362U0 1
2 Cap, Water QS11150A000 1
3 Tube, Water Cap QS11462U000 1
4 Bolt QS00506016800K 3 M6*P1.0*16L W/Washer
5 Clamp, φ23 QS9451623008 6
6 Hose, Water Cap, Radiator QS19504S380 1
7 Strap QS569131000 1
8 Spring, Coolant Hose QS50762U000 1
9 Hose, Inlet, Radiator QS19503213000 1
10 Asm., Switch, Thermosatic QS32051T000 1
11 Hose, Outlet, Radiator QS19501208000 1
12 Tube, Oil QS40304008750 1
13 Clip QS51006500 1
14 Asm., Expansion Tank QS10020100003 1
15 Cap, Expansion Tank QS1910250A000 1
16 Tank, Expansion QS1910150A0 1
17 Clamp QS51512008 2 12*8
18 Hose, Inlet, Expansion Tank QS50620500001 1
19 Asm., Fan QS00562E001 1
20 Screw QS00306016800K 3 M6*P1.0*16L W/Washer
21 Radiator QS01151T000 1
22 Asm., Radiator QS01051T001 1
23 Bolt QS00706022800K 4 M6*P1.0*22L W/Washer
24 Foam, battery QS113208000 1
25 Hose QS40805007720A 1

Q.TY(1) = Mindestmenge erforderlich