Accessoires et pièces détachées d'origine Qooder

Accessoires et pièces détachées d'origine Qooder

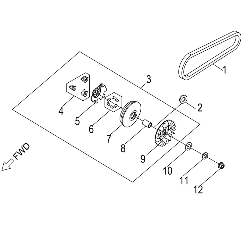
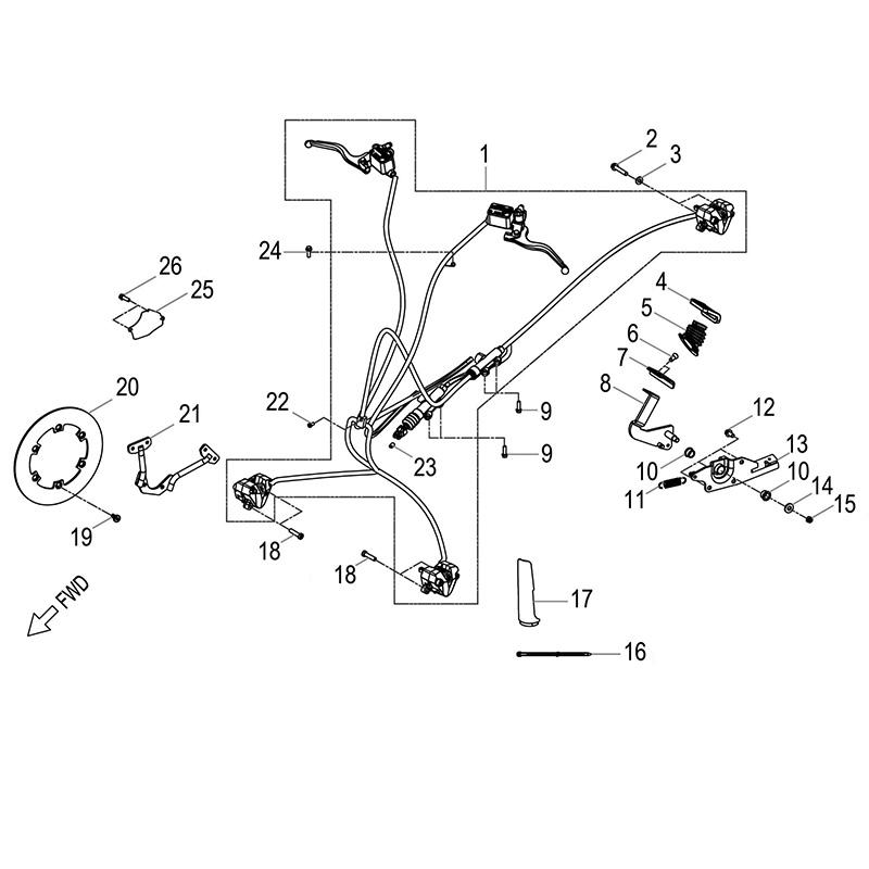
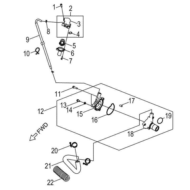
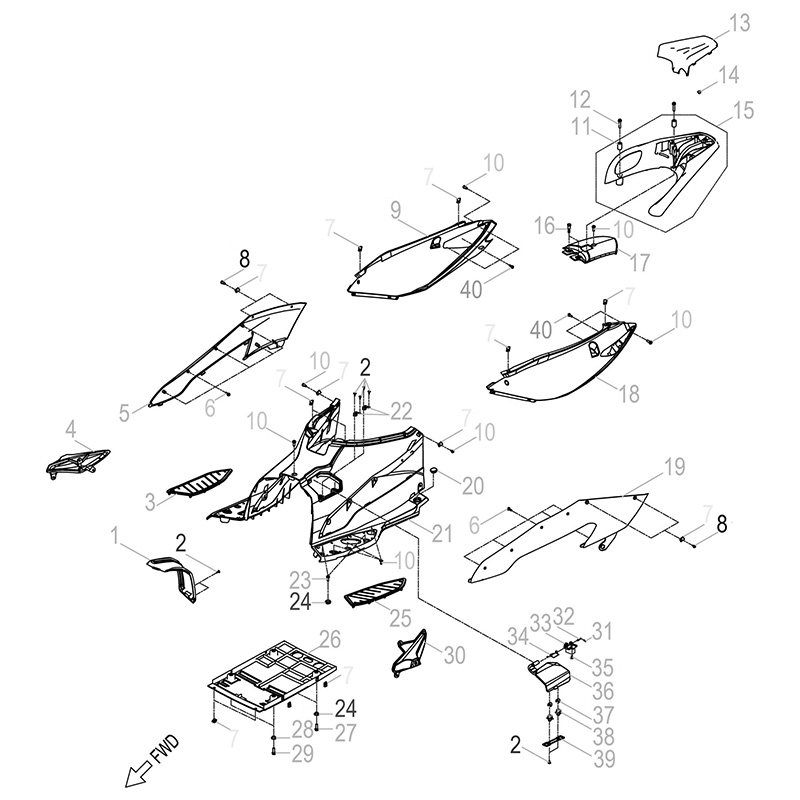
Parts finder

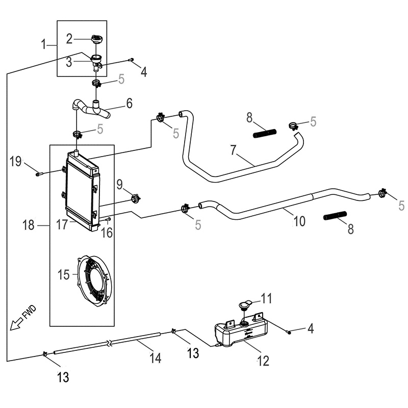
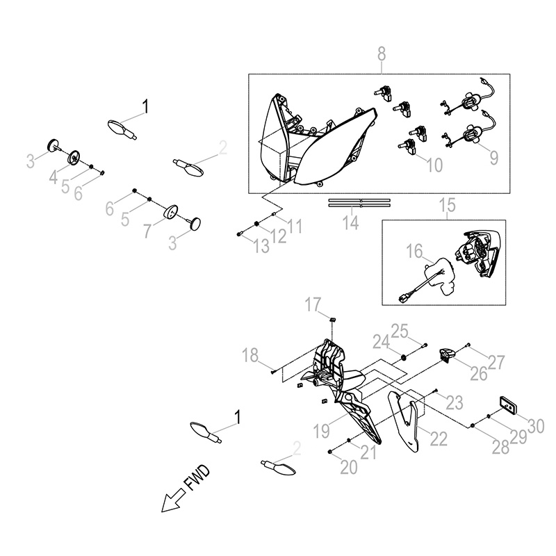
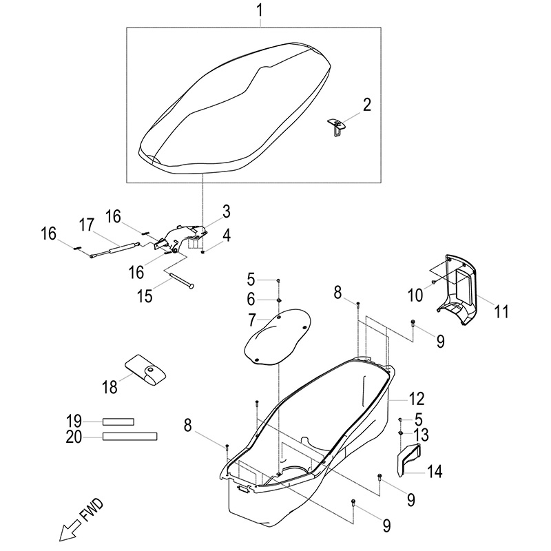
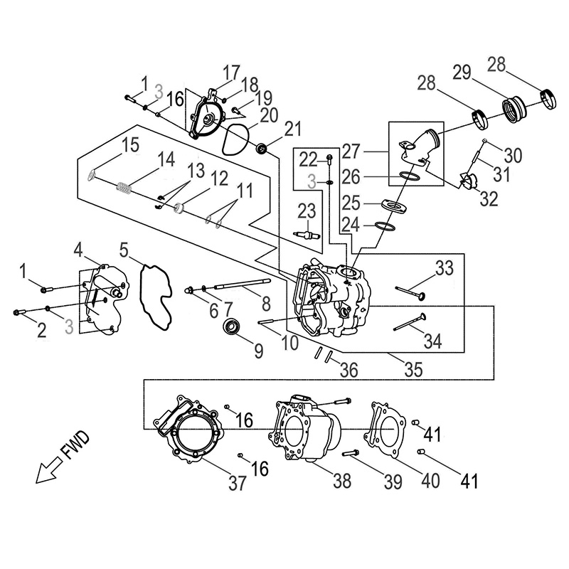
Quadro 3 Euro4 TAC63300