Original Qooder accessories and spare parts

Original Qooder accessories and spare parts

Parts finder

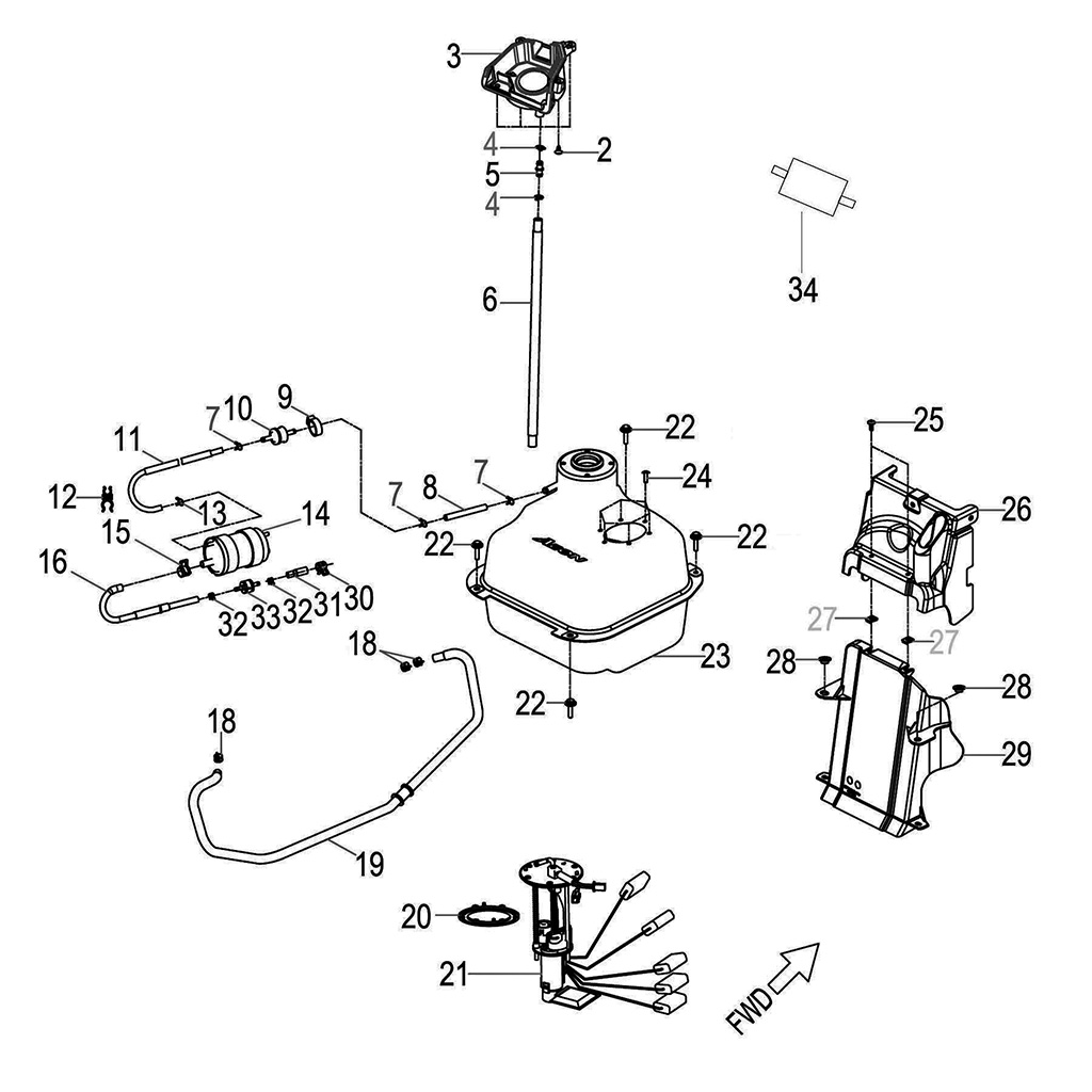
Quadro 3 Euro4 V3 TAC63303 > Fuel tank
Fuel tank
Item Description P/N Q.ty(1) Note
1 Bolt QS10005012800K 1 M5*P0.8*12L
2 Screw QS903104012800K 4 M4*12L
3 Fuel Cup QS1751769T001 1
4 Clip QS50812012 2
5 Harness, IAT QS1723962U0 1
6 Hose QS11211205 1
7 Clamp QS51008000 3
8 Fuel hose QS40105009080 1
9 Clamp, checkvalve QS35169S36000 1
10 Sensor, Anti-Fall QS16320100000 1
11 Fuel Hose, Discharge QS1753269T 1
12 Strap, Oil Hose QS89753202 1
13 Clip QS51006500 1
14 Active Carbon Can QS1751336T000 1
15 Clamp QS51512008 1 12*8
16 Fuel Hose, Discharge QS1753250T000 1
17 Clip QS51013016 1
18 Clamp QS52112006 3
19 Fuel Hose QS1752369T 1
20 Foam QS1750262B0 1
21 Fuel Pump QS520S38000 1
22 Bolt QS00706027800K 4 M6*P1.0*27L W/Washer
23 Asm., Tank, Fuel QS1750069T 1
24 Bolt QS10005016800K 6 M5*P0.8*16L
25 Screw QS903105014800K 2
26 Heat Isolation Shield, Fuel Tank QS1764262C 1
27 Nut-U QS61121204 2
28 Washer QS150071705000K 2 φ7.1*φ17*t5
29 Heat Isolation Shield, Fuel Tank QS64262B000 1

Q.TY(1) = Minimum quantity required