Original Qooder accessories and spare parts

Original Qooder accessories and spare parts

Parts finder

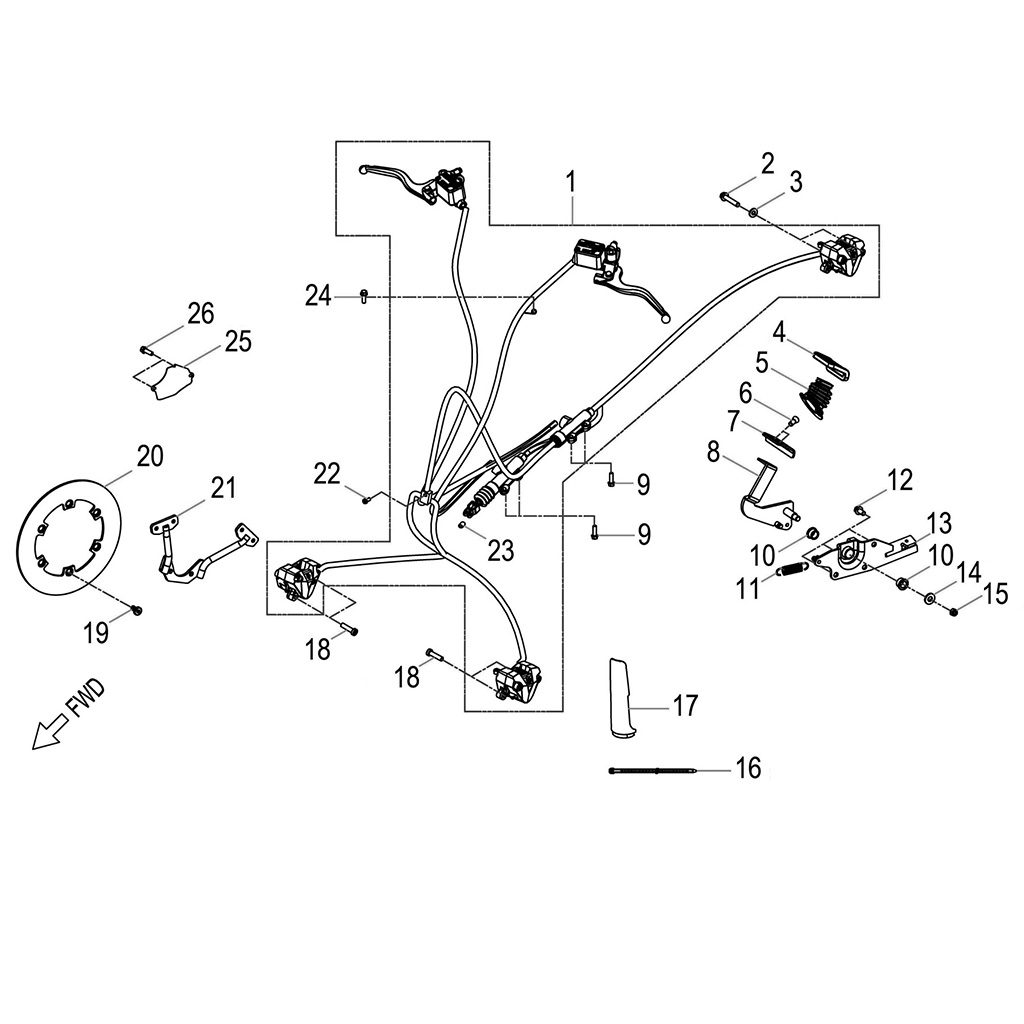
Quadro 3 Euro4 V3 TAC63303 > Front brake, master cylinder
Front brake, master cylinder
Item Description P/N Q.ty(1) Note
1 Asm. Front and Rear Brake QS030S38000 1
2 Bolt QS0000803880KL 2
3 Washer QS101081601000C 2
4 Rubber Cover, Pedal, Foot Brake QS488S38000 1
5 Boot, Foot Brake QS489S38000 1
6 Bolt QS9020601280CL 2
7 Plate, Foot Brake QS487S38000 1
8 Lever, Foot Brake QS493S38000 1
9 Bolt QS00006022800K 4 M6*P1.0*22L
10 Bushing QS912201000 2
11 Spring, Switch QS422210000 1
12 Bolt QS0000801480KL 3 M8*P1.25*14L
13 Bracket, Foot Brake QS494S38000 1
14 Washer QS101102202000C 1 φ10.1*φ22*t2
15 Nut QS3501000000C 1 M10*P1.25
16 Strap QS769206000 2
17 Protection Cover , HTS QS097S38000 2
18 Bolt, Caliper, Brake QS43209S38001 4
19 Bolt QS016S38000 12
20 Disc, Front Brake QS010S38000 2
21 Bracket, Fender, Front wheel QS854S38000 2
22 Bolt QS00006010800K 1
23 Fastener, Pumper, Brake QS45476S38000 1
24 Bolt QS00706016800K 1 M6*P1.0*16L W/Washer
25 Shield, Brake Hose QS47262U000 1
26 Bolt QS00006012810K 2 M6*P1.0*12L

Q.TY(1) = Minimum quantity required