Accesorios y repuestos originales Qooder

Accesorios y repuestos originales Qooder

Parts finder

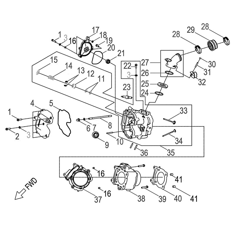
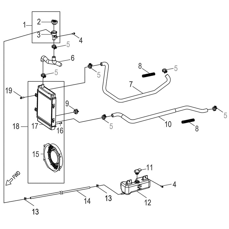
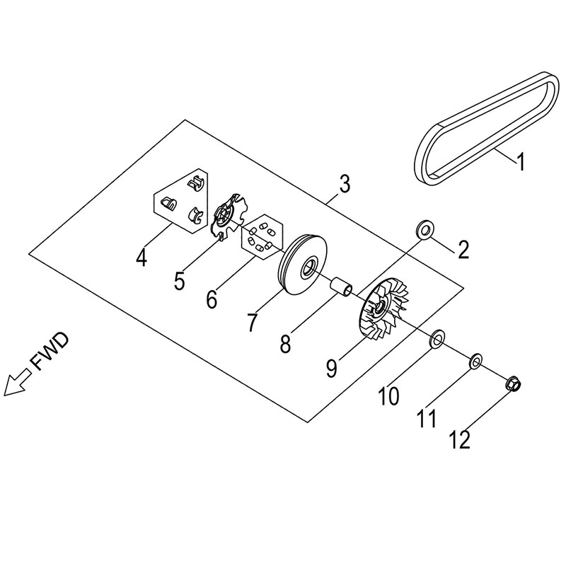
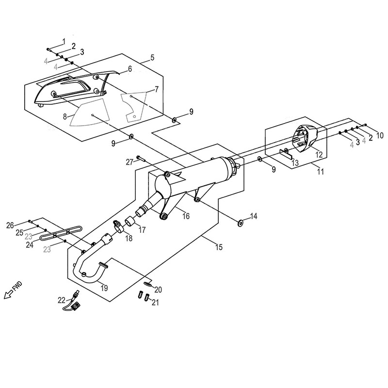
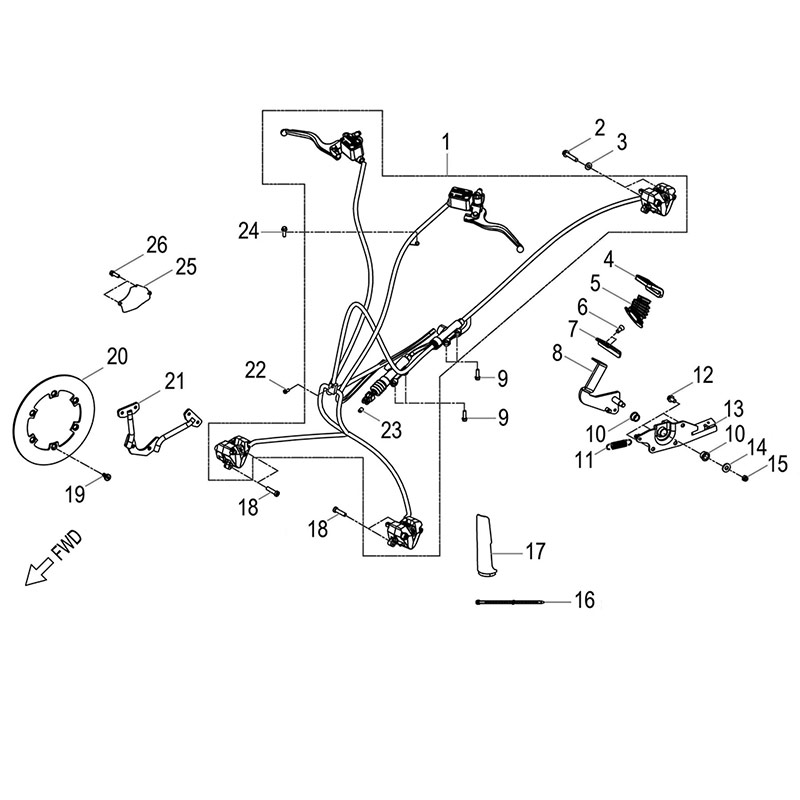
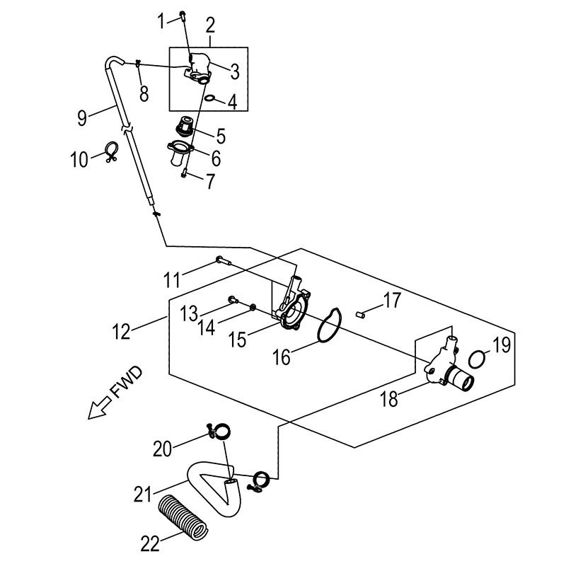
QUADRO S TAC63110