Accesorios y repuestos originales Qooder

Accesorios y repuestos originales Qooder

Parts finder

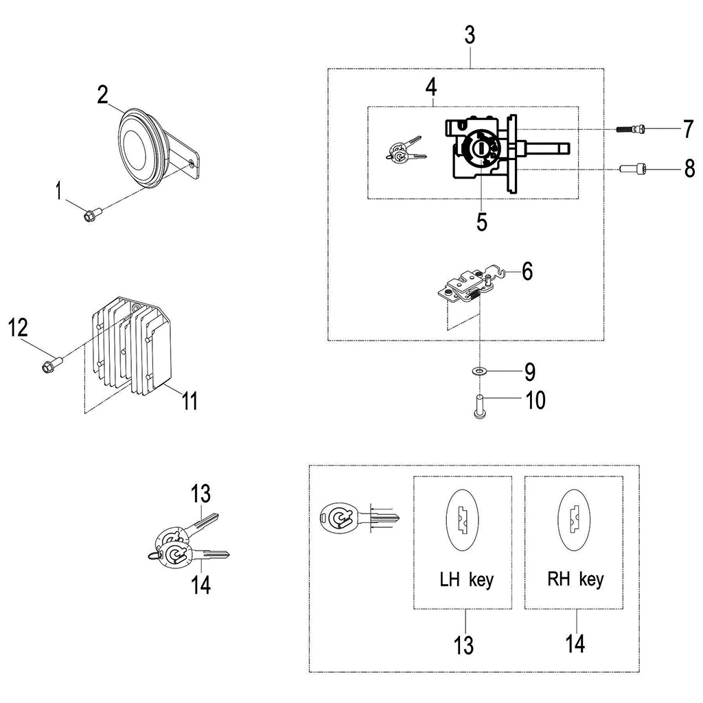
Qooder TAC63410 > Main switch/ horn/ reg.
Main switch/ horn/ reg.
Item Description P/N Q.ty(1) Note
1 Bolt QS0000801280KL 1 M8*P1.25*12L
2 Horn QS110119000 1
3 Asm., Main Switch QS35010S35002 1
4 Switch, Main QS35010S35002 1
5 Cap, Lock, hood QS35112204000 1
6 Lock striker QS23162U000 1
7 Shear-Bolt QS2000602080B1 1
8 Bolt QS00006016800K 1
9 Washer QS101061801500K 2 φ6.1*φ18*t1.5
10 Bolt QS91306016800K 2
11 Rectifier/ Regulator QS3160069T 1
12 Bolt QS00006016810K 2 M6*P1.0*16L
13 Key(LH) QS35012213002 1
14 Key(RH) QS35011213002 1

Q.TY(1) = Cantidad mínima requerida